
Adv7401kstz-140 एनालॉग डिवाइसेस से एक परिष्कृत वीडियो डिकोडर और आरजीबी ग्राफिक्स डिजिटाइज़र है, जिसे पाल, एनटीएससी और एसएसीएएम सहित विभिन्न वीडियो प्रारूपों को संभालने के लिए डिज़ाइन किया गया है, और उन्हें डिजिटल आईटीयू-आर बीटी .656 प्रारूप में परिवर्तित किया गया है।यह चिप घटक RGB/YPRPB वीडियो सिग्नल को डिकोड करने की क्षमता के लिए खड़ा है और 75 हर्ट्ज (SXGA) पर 1280 × 1024 तक के संकल्पों के साथ RGB ग्राफिक्स को डिजिटाइज़ करता है।यह चार 10-बिट एडीसी द्वारा सशक्त है जो 140 मेगाहर्ट्ज तक के नमूने की दरों पर काम करते हैं, जिससे अनुप्रयोगों की मांग के लिए उच्च गुणवत्ता वाले वीडियो आउटपुट सुनिश्चित होता है।Adv7401 परिवार में ADV7401BSTZ-110 और ADV7401BSTZ-80 जैसे कई मॉडल शामिल हैं, जो क्रमशः 110 मेगाहर्ट्ज और 80 मेगाहर्ट्ज की कम अधिकतम एडीसी नमूनाकरण दरों का समर्थन करते हैं, जो एक मॉडल का चयन करने की अनुमति देता है जो उनके विशिष्ट रिज़ॉल्यूशन और प्रदर्शन आवश्यकताओं के साथ संरेखित करता है।यह लचीलापन Adv7401 श्रृंखला को एक प्रमुख विकल्प बनाता है जिसमें मजबूत वीडियो प्रसंस्करण क्षमताओं की आवश्यकता होती है।
यदि आप उच्च-प्रदर्शन वीडियो डिकोडिंग के साथ अपने उत्पाद लाइनअप को बढ़ावा देना चाहते हैं, तो हम अत्यधिक सलाह देते हैं कि हम ADV7401KSTZ-140 के लिए हमारे साथ एक बल्क ऑर्डर दें।

|
पिन नं। |
स्मृति सहायक |
प्रकार |
समारोह |
|
5, 11, 17, 40, 89 |
डीजीएनडी |
जी |
डिजिटल ग्राउंड। |
|
49, 50, 66 |
अगेन |
जी |
एनालॉग ग्राउंड। |
|
6, 18 |
डाइव्डिओ |
पी |
डिजिटल I/O आपूर्ति वोल्टेज (3.3 V)। |
|
12, 39, 90 |
डीवीडीडी |
पी |
डिजिटल कोर आपूर्ति वोल्टेज (1.8 V)। |
|
63 |
AVDD |
पी |
एनालॉग सप्लाई वोल्टेज (3.3 V)। |
|
47, 48 |
पावन |
पी |
पीएलएल आपूर्ति वोल्टेज (1.8 वी)। |
|
51 |
अमेरिकन प्लान |
मैं |
फास्ट स्विच ओवरले इनपुट।यह पिन सीवीबी के बीच स्विच करता है
और आरजीबी एनालॉग सिग्नल। |
|
54, 56, 58, 72, 74, 76, 53, 55, 57, 71, 73, 75 |
AIN1 से AIN12 |
मैं |
एनालॉग वीडियो इनपुट चैनल। |
|
42, 41, 28, 27, 26, 25, 23, 22, 10, 9, 8, 7, 94, 93, 92,
91 |
P2 से P9, P12 से P19 |
हे |
वीडियो पिक्सेल आउटपुट पोर्ट। |
|
33, 32, 31, 30, 29, 24, 14, 13 |
P22 से P29 |
मैं/ओ |
वीडियो इनपुट/आउटपुट पोर्ट। |
|
44, 43, 21, 20, 45, 34, 2, 1, 100, 97, 96, 95, 88, 87,
84, 83 |
P0 से P1, P10 से P11, P20 से P21, P31 से P40 |
मैं |
वीडियो पिक्सेल इनपुट पोर्ट। |
|
3 |
int यहाँ |
हे |
रुकावट डालना।यह पिन सक्रिय कम या सक्रिय उच्च हो सकता है।
जब एसडीपी/सीपी स्थिति बिट्स इस पिन ट्रिगर को बदलते हैं।घटनाओं का सेट
ट्रिगर एक व्यवधान उपयोगकर्ता नियंत्रण के तहत है। |
|
4 |
एचएस/सीएस |
हे |
एचएस एक क्षैतिज सिंक्रनाइज़ेशन आउटपुट सिग्नल है (एसडीपी और
सीपी मोड)।सीएस एक डिजिटल समग्र सिंक्रनाइज़ेशन सिग्नल है (और हो सकता है
CP मोड में जबकि चयनित)। |
|
99 |
बनाम |
हे |
वर्टिकल सिंक्रनाइज़ेशन आउटपुट सिग्नल (एसडीपी और सीपी (सीपी)
मोड)। |
|
98 |
फील्ड/डे |
हे |
फ़ील्ड सिंक्रनाइज़ेशन आउटपुट सिग्नल (सभी इंटरलेस्ड वीडियो)
मोड)।इस पिन को सीपी मोड में डेटा सक्षम सिग्नल (डीई) के रूप में भी सक्षम किया जा सकता है
एक HDMI/DVI TX IC से सीधे कनेक्शन की अनुमति देने के लिए। |
|
81, 19 |
SDA1, SDA2 |
मैं/ओ |
IC पोर्ट सीरियल डेटा इनपुट/आउटपुट पिन।SDA1 डेटा है
नियंत्रण पोर्ट और SDA2 के लिए लाइन VBI रीडबैक के लिए डेटा लाइन है
पत्तन। |
|
82, 16 |
SCLK1, SCLK2 |
मैं |
IC पोर्ट सीरियल क्लॉक इनपुट (400 kHz की अधिकतम घड़ी दर)।
SCLK1 नियंत्रण पोर्ट के लिए क्लॉक लाइन है और SCLK2 के लिए क्लॉक लाइन है
VBI डेटा रीडबैक पोर्ट। |
|
80 |
ALSB |
मैं |
यह पिन Adv7401 नियंत्रण के लिए I A पते का चयन करता है
और VBI रीडबैक पोर्ट्स।LOGIC 0 पर सेट ALSB एक लिखने के लिए पता सेट करता है
0x40 का नियंत्रण पोर्ट और 0x21 के VBI पोर्ट के लिए रीडबैक पता।ALSB
एक तर्क उच्च पर सेट करें 0x42 के नियंत्रण पोर्ट को लिखने के लिए एक पते को सेट करता है और
0x23 के VBI पोर्ट के लिए रीडबैक पता। |
|
78 |
रीसेट करना |
मैं |
सिस्टम रीसेट इनपुट, सक्रिय कम।एक न्यूनतम कम रीसेट पल्स
Adv7401 सर्किटरी को रीसेट करने के लिए 5 एमएस की चौड़ाई की आवश्यकता होती है। |
|
36 |
Llc1 |
हे |
LLC1 पिक्सेल डेटा के लिए एक लाइन-लॉक आउटपुट घड़ी है
(Adv7401kstz-140 के लिए रेंज 12.825 मेगाहर्ट्ज से 140 मेगाहर्ट्ज है; 12.825 मेगाहर्ट्ज से 110 मेगाहर्ट्ज तक
Adv7401BSTZ-110 के लिए;Adv7401BSTZ-80 के लिए 12.825 मेगाहर्ट्ज से 80 मेगाहर्ट्ज)। |
|
38 |
XTAL |
मैं |
28.63636 मेगाहर्ट्ज क्रिस्टल के लिए इनपुट पिन, या हो सकता है
एक बाहरी 3.3 वी 28.63636 मेगाहर्ट्ज घड़ी थरथरानवाला स्रोत द्वारा घड़ी के लिए ओवरड्राइव किया गया
Adv7401। |
|
37 |
XTAL1 |
हे |
यह पिन 28.63636 मेगाहर्ट्ज क्रिस्टल से जुड़ता है या अनुमति देता है
3.3 V 28.63636 मेगाहर्ट्ज क्लॉक ऑसिलेटर के लिए कनेक्शन का उपयोग एक के रूप में किया जाना है
Adv7401 के लिए घड़ी।क्रिस्टल मोड में, क्रिस्टल एक मौलिक होना चाहिए। |
|
46 |
ईएलपीएफ |
हे |
अनुशंसित बाहरी लूप फ़िल्टर से जुड़ा होना चाहिए
यह ईएलपीएफ पिन। |
|
70 |
Test0 |
एनसी |
इस पिन को असंबद्ध या वैकल्पिक रूप से बांधा जाना चाहिए
agnd को। |
|
59 |
Test1 |
हे |
इस पिन को असंबद्ध छोड़ दिया जाना चाहिए। |
|
15 |
Sfl/sync_out |
हे |
सबकेरियर फ़्रीक्वेंसी लॉक (SFL)।इस पिन में एक है
सीरियल आउटपुट स्ट्रीम जिसका उपयोग सबकारियर आवृत्ति को लॉक करने के लिए किया जा सकता है
यह डिकोडर किसी भी एनालॉग डिवाइस डिजिटल वीडियो एनकोडर से जुड़ा हुआ है।
SYNC_OUT केवल CP मोड में उपलब्ध कटा हुआ सिंक आउटपुट सिग्नल है। |
|
64 |
नफ़रत करना |
हे |
आंतरिक वोल्टेज संदर्भ आउटपुट। |
|
65 |
सीएमएल |
हे |
आंतरिक ADCs के लिए सामान्य-मोड स्तर पिन (CML)। |
|
61, 62 |
Capy1, capy2 |
मैं |
एडीसी कैपेसिटर नेटवर्क। |
|
68, 69 |
CAPC1, CAPC2 |
मैं |
एडीसी कैपेसिटर नेटवर्क। |
|
67 |
पक्षपात |
हे |
बाहरी पूर्वाग्रह सेटिंग पिन।अनुशंसित कनेक्ट करें
पिन और जमीन के बीच रोकनेवाला (1.35 kω)। |
|
86 |
Hs_in/cs_in |
मैं |
सीपी मोड में या तो डिजिटल एचएस होने के लिए कॉन्फ़िगर किया जा सकता है
इनपुट सिग्नल या एक डिजिटल सीएस इनपुट सिग्नल का उपयोग 5-तार में समय निकालने के लिए किया जाता है
या 4-वायर आरजीबी मोड। |
|
85 |
Vs_in |
मैं |
बनाम इनपुट सिग्नल।5-वायर टाइमिंग मोड के लिए सीपी मोड में उपयोग किया जाता है। |
|
79 |
De_in |
मैं |
डेटा इनपुट सिग्नल सक्षम करें।24-बिट डिजिटल इनपुट में उपयोग किया जाता है
पोर्ट मोड (उदाहरण के लिए, DVI RX IC से 24-बिट RGB डेटा को संसाधित करना)। |
|
35 |
Dclk_in |
मैं |
घड़ी इनपुट सिग्नल।24-बिट डिजिटल इनपुट मोड में उपयोग किया जाता है
(उदाहरण के लिए, DVI RX IC से 24-बिट RGB डेटा को संसाधित करें) और भी
डिजिटल CVBS इनपुट मोड। |
|
52 |
घना |
मैं |
हरे इनपुट पर सिंक।एम्बेडेड सिंक मोड में उपयोग किया जाता है। |
|
77 |
सोया |
मैं |
Luma इनपुट पर सिंक।एम्बेडेड सिंक मोड में उपयोग किया जाता है। |
• उच्च गति एनालॉग-टू-डिजिटल रूपांतरण: ADV7401KSTZ-140 चार 10-बिट एनालॉग-टू-डिजिटल कन्वर्टर्स (ADCs) से सुसज्जित है जो 140 मेगाहर्ट्ज तक के नमूने दरों पर काम कर सकता है।यह क्षमता इसे उच्च-रिज़ॉल्यूशन वीडियो संकेतों को प्रभावी ढंग से डिजिटाइज़ करने की अनुमति देती है, जिससे यह उन्नत वीडियो प्रसंस्करण अनुप्रयोगों के लिए उपयुक्त हो जाता है।
• बहुमुखी अनुरूप इनपुट बहुसंकेतन: इस डिवाइस में 12-चैनल एनालॉग इनपुट मल्टीप्लेक्सर शामिल हैं, जिसमें SCART फास्ट ब्लैंक सपोर्ट शामिल है।यह कार्यक्षमता विभिन्न एनालॉग वीडियो स्रोतों के बीच स्विच करने की अनुमति देती है, जो वीडियो सिस्टम के लिए विविध इनपुट आवश्यकताओं को समायोजित करती है।
• व्यापक वीडियो मानक समर्थन: ADV7401KSTZ-140 NTSC, PAL और SECAM सहित वीडियो रंग मानकों की एक विस्तृत श्रृंखला का समर्थन करता है।यह घटक वीडियो प्रारूपों जैसे कि 525p, 625p, 720p और 1080i जैसे विभिन्न वैश्विक वीडियो प्रारूपों और संकल्पों के साथ संगतता सुनिश्चित कर सकता है।
• ग्राफिक्स डिजिटलीकरण: 75 हर्ट्ज (SXGA) पर 1280 × 1024 के संकल्पों के लिए RGB ग्राफिक्स को डिजिटाइज़ करने में सक्षम, ADV7401KSTZ-140 उच्च-रिज़ॉल्यूशन ग्राफिक्स प्रसंस्करण की आवश्यकता वाले अनुप्रयोगों के लिए आदर्श है, जैसे कि उन्नत सर्वेक्षण प्रणाली और डिजिटल साइनेज।
• उन्नत रंग अंतरिक्ष रूपांतरण: डिवाइस में एक 3 × 3 रंग-अंतरिक्ष रूपांतरण मैट्रिक्स शामिल है जो विभिन्न रंग रिक्त स्थान, जैसे कि YCRCB से RGB और इसके विपरीत के बीच लचीले रूपांतरण की सुविधा प्रदान करता है।यह सुविधा मल्टीमीडिया अनुप्रयोगों में रंग सटीकता और गुणवत्ता बनाए रखने के लिए बहुत अच्छी है।
• अंकीय इनपुट पोर्ट: ADV7401KSTZ-140 में एक 24-बिट डिजिटल इनपुट पोर्ट शामिल है जो DVI/HDMI रिसीवर ICS के डेटा का समर्थन करता है।यह सुविधा आधुनिक डिजिटल वीडियो स्रोतों के साथ चिप की संगतता को बढ़ाती है, जिससे इसे डिजिटल मल्टीमीडिया सिस्टम की एक विस्तृत श्रृंखला में एकीकृत किया जा सकता है।
• प्रोग्रामेबल आउटपुट इंटरफेस : यह एक प्रोग्रामेबल आउटपुट इंटरफ़ेस प्रदान करता है जिसे 12-बिट 4: 4: 4 या 8-बिट 4: 2: 2 डबल डेटा रेट (DDR) पिक्सेल आउटपुट प्रारूप पर सेट किया जा सकता है।यह लचीलापन यह सुनिश्चित करता है कि आउटपुट को विशिष्ट अनुप्रयोग आवश्यकताओं को पूरा करने के लिए सिलवाया जा सकता है, चाहे प्रसारण उपकरण या इलेक्ट्रॉनिक्स के लिए।

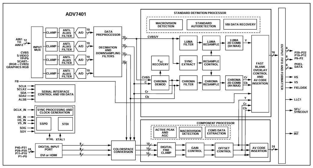
का आरेख Adv7401kstz-140 इस उन्नत वीडियो डिकोडर और डिजिटाइज़र के आंतरिक कार्यात्मक ब्लॉकों को दिखाता है, यह दर्शाता है कि यह डिजिटल आउटपुट में विभिन्न एनालॉग वीडियो सिग्नल को कैसे संसाधित करता है।चिप कई इनपुट प्रारूपों का समर्थन करता है जैसे सीवीबीएस, स **** विडियो, YPBPR, और आरजीबी, सभी इनपुट MUX के माध्यम से रूट किए गए जो 12 एनालॉग इनपुट (AIN1 से AIN12) के बीच चयन करता है।प्रत्येक चयनित सिग्नल एक से गुजरता है क्लैंप और एंटी-अलियास फ़िल्टर एकीकृत 10-बिट एनालॉग-टू-डिजिटल कन्वर्टर्स (ए/डी) में से एक द्वारा डिजिटलीकरण के लिए संकेत तैयार करने के लिए।
एक बार डिजिटाइज़ किए जाने के बाद, संकेतों को संसाधित किया जाता है आँकड़ा पूर्वप्रोसेसर, जो भी शामिल है नाश और डाउनसैम्पलिंग फिल्टर डेटा दरों को कम करने और आगे डिजिटल प्रसंस्करण के लिए संकेत तैयार करने के लिए।इनपुट के प्रकार के आधार पर, वीडियो को या तो के माध्यम से संसाधित किया जा सकता है मानक परिभाषा प्रक्रिया या घटक प्रक्रमक। एसडी प्रोसेसर समग्र और एस-वीडियो संकेतों को संभालता है, जैसे कि कार्य करता है क्रोमा डिमोड्यूलेशन, लूमा और क्रोमा फ़िल्टरिंग, कंघी फ़िल्टरिंग, और रीसेंपलिंग, ल्यूमिनेंस और क्रोमिनेंस घटकों के स्पष्ट पृथक्करण को सुनिश्चित करना।इसमें जैसे कार्य भी शामिल हैं मैक्रोविजन का पता लगाना और वीबीआई डेटा वसूली।
घटक वीडियो के लिए, घटक प्रक्रमक जैसे संचालन के लिए जिम्मेदार है नियंत्रण हासिल करो, ऑफसेट सुधार, और सक्रिय शिखर और एजीसी समायोजन।इसमें शामिल है सीजीएमएस और मैक्रोविजन कॉपी सुरक्षा अनुपालन के लिए डेटा का पता लगाना।इसके अतिरिक्त, वहाँ है रंगों का रूपांतरण अनुकूलित करना YCBCR या आरजीबी आवश्यक आउटपुट प्रारूप के लिए संकेत।सभी संसाधित संकेतों में अभिसरण होता है आउटपुट फिफो और फ़ॉर्मेटर, जहां वे डिजिटल पिक्सेल डेटा के रूप में आउटपुट होने से पहले संरेखित, स्वरूपित और सिंक्रनाइज़ किए जाते हैं, जैसे कि सिंक्रनाइज़ेशन सिग्नल जैसे एच एस, बनाम, फील्ड/डे, और दूसरे।आरेख के लिए समर्थन भी दिखाता है डीवीआई या HDMI 8-बिट डिजिटल पोर्ट और एम्बेडेड के माध्यम से इनपुट धारावाहिक इंटरफ़ेस नियंत्रण संचार और कॉन्फ़िगरेशन के लिए।
|
प्रकार |
पैरामीटर |
|
उत्पादक |
एनालॉग डिवाइस इंक। |
|
पैकेजिंग |
ट्रे |
|
भाग की स्थिति |
सक्रिय |
|
समारोह |
डिकोडर, डिजिटाइज़र |
|
अनुप्रयोग |
उपभोक्ता वीडियो |
|
मानकों |
ITU-R BT.656, NTSC, PAL, SECAM |
|
नियंत्रण इंटरफ़ेस |
धारावाहिक |
|
वोल्टेज - आपूर्ति |
1.65V ~ 3.6V |
|
माउन्टिंग का प्रकार |
सतह पर्वत |
|
पैकेज / मामला |
100-lqfp |
|
आपूर्तिकर्ता युक्ति पैकेज |
100-lqfp (14x14) |
|
आधार उत्पाद संख्या |
Adv7401 |
उच्च-परिभाषा टेलीविजन (एचडीटीवी)
ADV7401KSTZ-140 का उपयोग विभिन्न प्रकार के HDTVs में किया जाता है, जिसमें LCD, DLP ™, प्लाज्मा और CRT मॉडल शामिल हैं, ताकि वीडियो संकेतों की एक विस्तृत श्रृंखला को डिकोड और संसाधित किया जा सके।कई प्रसारण मानकों और प्रारूपों को संभालने की इसकी क्षमता टेलीविजन प्रौद्योगिकी में व्यापक संगतता और उच्च गुणवत्ता वाले वीडियो आउटपुट को सुनिश्चित करने के लिए एक महत्वपूर्ण घटक बनाती है।
प्रोजेक्टर
यह वीडियो डिकोडर एलसीडी और डीएलपी प्रोजेक्टर दोनों में अभिन्न है, जहां यह वीडियो प्रसंस्करण क्षमताओं को बढ़ाता है।यह प्रोजेक्टर को उच्च-रिज़ॉल्यूशन सामग्री को सटीक रूप से प्रस्तुत करने में सक्षम बनाता है, जिससे यह होम थिएटर सेटअप और पेशेवर प्रस्तुति वातावरण दोनों के लिए आदर्श है।
व्यक्तिगत वीडियो रिकॉर्डर (PVR) के साथ सेट-टॉप बॉक्स (STBS)
सेट-टॉप बॉक्स में, ADV7401KSTZ-140 विभिन्न स्रोतों से सामग्री को देखने और रिकॉर्ड करने के लिए विभिन्न वीडियो प्रारूपों के डिकोडिंग की सुविधा प्रदान करता है।यह सुविधा व्यक्तिगत वीडियो रिकॉर्डर, लचीले देखने और रिकॉर्डिंग विकल्पों की कार्यक्षमता का समर्थन करती है।
ऑडियो-वीडियो रिसीवर (AVRS)
चिप ऑडियो प्रबंधन के साथ मजबूत वीडियो डिकोडिंग क्षमताओं को एकीकृत करके ऑडियो-वीडियो रिसीवर को बढ़ाता है।यह एकीकरण होम एंटरटेनमेंट सिस्टम में उपयोग किए जाने वाले एवीआर के लिए अच्छा है, जो एक ही डिवाइस में एक सहज ऑडियो और वीडियो अनुभव प्रदान करता है।
मल्टीफॉर्मेट स्कैन कन्वर्टर्स
ADV7401KSTZ-140 का उपयोग मल्टीफॉर्मैट स्कैन कन्वर्टर्स में विभिन्न स्वरूपों और संकल्पों के बीच वीडियो संकेतों को परिवर्तित करने में सहायता करने के लिए किया जाता है।यह एप्लिकेशन विभिन्न प्रदर्शन प्रौद्योगिकियों और मानकों में संगतता सुनिश्चित करने और वीडियो की गुणवत्ता बनाए रखने के लिए बहुत अच्छा है।
प्रगतिशील स्कैन इनपुट समर्थन के साथ डीवीडी रिकॉर्डर
डीवीडी रिकॉर्डर्स में, ADV7401KSTZ-140 प्रगतिशील स्कैन इनपुट का समर्थन करते हुए, आने वाले वीडियो संकेतों को डिकोडिंग और डिजिटल करके एक भूमिका निभाता है।यह क्षमता डीवीडी रिकॉर्डर को उच्च गुणवत्ता वाली वीडियो सामग्री को पकड़ने और संग्रहीत करने की अनुमति देती है, जिससे समग्र रिकॉर्डिंग गुणवत्ता बढ़ जाती है।
1. उपयुक्त प्राथमिक मोड (prim_mode) और वीडियो मानक (vid_std) का चयन करें: प्राथमिक मोड और वीडियो मानक चयन महत्वपूर्ण है क्योंकि यह निर्धारित करता है कि ADV7401KSTZ-140 आने वाले वीडियो सिग्नल की व्याख्या कैसे करता है।PRIM_MODE रजिस्टर वीडियो इनपुट (जैसे, NTSC, PAL) के प्राथमिक प्रारूप की पहचान करता है, जबकि VID_STD रजिस्टर मानक विवरण (जैसे, 525i, 625i) को निर्दिष्ट करता है।इन रजिस्टरों को सही ढंग से सेट करना सुनिश्चित करता है कि वीडियो डिकोडर इनपुट सिग्नल की विशिष्ट विशेषताओं को संभाल सकता है, जैसे कि फ्रेम दर और रिज़ॉल्यूशन।
2. कुंडी घड़ी कॉन्फ़िगर करें (latch_clk): वीडियो डेटा के प्रसंस्करण को सिंक्रनाइज़ करने के लिए कुंडी घड़ी सेटिंग महत्वपूर्ण है।Latch_Clk रजिस्टर की प्रोग्रामिंग करके, आप इनपुट वीडियो की पिक्सेल घड़ी आवृत्ति से मेल खाने के लिए डेटा लैच के समय को समायोजित करते हैं।यह कदम यह सुनिश्चित करने के लिए महत्वपूर्ण है कि वीडियो डिकोडर सही समय पर प्रत्येक पिक्सेल को सही ढंग से कैप्चर और संसाधित करता है, समय के मुद्दों या डेटा भ्रष्टाचार से बचता है।
3. पीएलएल डिवाइडर अनुपात निर्धारित करें: इस चरण में किसी दिए गए इनपुट आवृत्ति से सही पिक्सेल घड़ी आउटपुट उत्पन्न करने के लिए पीएलएल (चरण-बंद लूप) डिवाइडर अनुपात को मैन्युअल रूप से सेट करना शामिल है।मैनुअल कंट्रोल (pll_div_man_en) को सक्षम करके और PLL_DIV_RATIO को प्रोग्रामिंग करके, आप अपने डिस्प्ले या आगे की प्रक्रिया प्रणाली की विशिष्ट आवश्यकताओं से मेल खाने के लिए आउटपुट पिक्सेल घड़ी को ठीक कर सकते हैं।यह सटीक नियंत्रण आपके वीडियो प्रसंस्करण श्रृंखला में सिग्नल अखंडता और सिंक्रनाइज़ेशन को बनाए रखने के लिए अच्छा है।
4. VCO रेंज और PLL चार्ज पंप सेटिंग्स को कॉन्फ़िगर करें: VCO (वोल्टेज-नियंत्रित थरथरानवाला) रेंज सेट करना और पीएलएल चार्ज पंप को समायोजित करना उत्पन्न पिक्सेल घड़ी की आवृत्ति को स्थिर करने के लिए महत्वपूर्ण है।VCO_RANGE और PLL_QPUMP रजिस्टर आपको विभिन्न ऑपरेटिंग परिस्थितियों में PLL के प्रदर्शन को अनुकूलित करने की अनुमति देते हैं, यह सुनिश्चित करते हुए कि आउटपुट घड़ी स्थिर रहती है और विश्वसनीय वीडियो डिकोडिंग के लिए आवश्यक विनिर्देशों के भीतर।
5. फ्री-रन लाइन लंबाई (fr_ll) सेट करें: उन स्थितियों में जहां वीडियो इनपुट खो जाता है या बाधित होता है, फ्री-रन लाइन लंबाई सेटिंग फ्री-रन मोड में लाइन की लंबाई को निर्दिष्ट करके एक सुसंगत आउटपुट को बनाए रखने में मदद करती है।अपेक्षित लाइन अवधि के आधार पर FR_LL रजिस्टर की गणना और सेट करके, ADV7401KSTZ-140 सही समय के साथ वीडियो फ्रेम को आउटपुट करना जारी रख सकता है, जो उन अनुप्रयोगों के लिए अच्छा है जिन्हें निरंतर वीडियो उपस्थिति की आवश्यकता होती है।
बहुमुखी प्रारूप संगतता
ADV7401KSTZ-140 NTSC, PAL, SECAM, और उच्च-परिभाषा प्रारूप जैसे 720p और 1080i सहित विभिन्न प्रकार के वीडियो मानकों का समर्थन करने की क्षमता के लिए खड़ा है।यह SXGA रिज़ॉल्यूशन तक RGB ग्राफिक्स को संभाल सकता है।यह व्यापक संगतता प्रारूप की बाधाओं के बारे में चिंता किए बिना विविध अनुप्रयोगों में चिप का उपयोग करने की अनुमति देती है।
उच्च गुणवत्ता वाला वीडियो प्रक्रमन
चार 10-बिट एडीसी से लैस जो 140 मेगाहर्ट्ज तक का नमूना ले सकते हैं, ADV7401KSTZ-140 उच्च गुणवत्ता वाले वीडियो प्रसंस्करण को सुनिश्चित करता है।यह क्षमता इसे बेहतर वीडियो प्रजनन के साथ प्रदान करते हुए, बढ़ी हुई स्पष्टता और रंग सटीकता के साथ वीडियो संकेतों को पकड़ने और परिवर्तित करने की अनुमति देती है।यह उन अनुप्रयोगों में फायदेमंद है जहां वीडियो की गुणवत्ता महत्वपूर्ण है, जैसे कि मेडिकल इमेजिंग, उच्च-परिभाषा प्रसारण और सुरक्षा निगरानी प्रणाली।
सरलीकृत तंत्र डिजाइन
दोनों वीडियो डिकोडिंग और आरजीबी ग्राफिक्स डिजिटलीकरण कार्यात्मकताओं को एक ही चिप में एकीकृत करके, ADV7401KSTZ-140 समग्र सिस्टम डिज़ाइन को सरल करता है।यह एकीकरण डिजाइन चरण में आवश्यक घटकों की संख्या को कम करता है, जिससे सामग्री और विधानसभा दोनों के संदर्भ में लागत बचत होती है।यह कम अंतर्संबंधों और विफलता के संभावित बिंदुओं के कारण सिस्टम की विश्वसनीयता को भी बढ़ाता है, जिससे यह जटिल मल्टीमीडिया सिस्टम के लिए एक कुशल समाधान बन जाता है।
लचीला आउटपुट विकल्प
डिवाइस लचीले आउटपुट इंटरफेस प्रदान करता है, जो 12-बिट 4: 4: 4 और 8-बिट 4: 2: 2 डबल डेटा रेट (DDR) पिक्सेल प्रारूप दोनों का समर्थन करने में सक्षम है।यह लचीलापन उनकी विशिष्ट अनुप्रयोग आवश्यकताओं के आधार पर आउटपुट प्रारूप को अनुकूलित करने में सक्षम बनाता है, चाहे उन्हें डिजिटल साइनेज के लिए उच्च रंग की निष्ठा की आवश्यकता हो या वीडियो इंटरफेस के लिए पिक्सेल प्रारूपों को अनुकूलित किया जाए।यह अनुकूलनशीलता यह सुनिश्चित करती है कि ADV7401KSTZ-140 को विभिन्न अंत-यूएसईएस में प्रभावी रूप से उपयोग किया जा सकता है।
विभिन्न स्थितियों में विश्वसनीय प्रदर्शन
−40 ° C से +85 ° C के औद्योगिक तापमान सीमा के भीतर संचालित करने के लिए डिज़ाइन किया गया है, ADV7401KSTZ-140 को पर्यावरणीय परिस्थितियों की एक विस्तृत श्रृंखला में मज़बूती से प्रदर्शन करने के लिए बनाया गया है।यह मजबूती बाहरी अनुप्रयोगों, औद्योगिक सेटिंग्स और अन्य परिदृश्यों में उपयोग के लिए उपयुक्त है जहां तापमान में उतार -चढ़ाव एक चिंता का विषय है।आप लगातार प्रदर्शन को बनाए रखने के लिए डिवाइस पर भरोसा कर सकते हैं, भले ही थर्मल चुनौतियों की परवाह किए बिना जो परिचालन वातावरण में उत्पन्न हो सकती है।
|
पैरामीटर |
आयाम (मिमी) |
|
शरीर का आकार (विशिष्ट) |
14.00 × 14.00 |
|
शरीर का आकार (न्यूनतम - अधिकतम) |
13.80 - 14.20 |
|
कुल लीड स्पैन (न्यूनतम - अधिकतम) |
15.80 - 16.20 |
|
पैकेज ऊंचाई (अधिकतम) |
1.6 |
|
शरीर की ऊंचाई (न्यूनतम - अधिकतम) |
1.35 - 1.45 |
|
सीसा चौड़ाई (न्यूनतम - अधिकतम) |
0.17 - 0.27 |
|
लीड पिच (मूल रिक्ति) |
0.5 |
|
लीड स्टैंडऑफ हाइट |
0.05 - 0.15 |
|
लीड एंगल रेंज |
0 ° - 7 ° |
|
लेड कॉप्लैनारिटी (अधिकतम) |
0.08 |

ADV7401KSTZ-140 एक परिष्कृत मल्टीफॉर्मैट वीडियो डिकोडर और ग्राफिक्स डिजिटाइज़र है जो द्वारा निर्मित है एनालॉग डिवाइस इंक।, अर्धचालक उद्योग में एक प्रसिद्ध नेता।अपने नवाचार और विश्वसनीयता के लिए जाना जाता है, एनालॉग डिवाइस सिग्नल प्रोसेसिंग अनुप्रयोगों के लिए एकीकृत सर्किट की एक विस्तृत सरणी के विकास और उत्पादन में माहिर हैं।कंपनी की विशेषज्ञता यह सुनिश्चित करती है कि ADV7401KSTZ-140 उच्च-प्रदर्शन वीडियो डिकोडिंग देने में सक्षम है, जो मल्टीमीडिया अनुप्रयोगों के लिए विभिन्न प्रकार के वीडियो प्रारूपों और मानकों का समर्थन करता है।
ADV7401KSTZ-140 वीडियो सिग्नल प्रोसेसिंग कार्यों की मांग के लिए एक मजबूत और लचीले समाधान के रूप में खड़ा है।कई वैश्विक वीडियो मानकों के समर्थन के साथ, उच्च-रिज़ॉल्यूशन आरजीबी डिजिटलीकरण, प्रोग्रामेबल आउटपुट प्रारूप, और औद्योगिक तापमान सीमाओं में संचालन, यह उपभोक्ता और पेशेवर वातावरण दोनों में विश्वसनीयता और प्रदर्शन प्रदान करता है।चाहे मल्टीमीडिया सिस्टम को बढ़ाने के लिए, डिजाइन आर्किटेक्चर को सरल बनाना, या विभिन्न प्रारूपों में संगतता सुनिश्चित करना, यह डिकोडर/डिजिटाइज़र लाभ प्रदान करता है।ADV7401KSTZ-140 एकीकृत वीडियो अनुप्रयोगों के लिए एक बहुमुखी और भविष्य के लिए तैयार घटक बना हुआ है।
कृपया एक जांच भेजें, हम तुरंत जवाब देंगे।
ADV7401KSTZ-140 140 मेगाहर्ट्ज तक 4 हाई-स्पीड 10-बिट एडीसी के संयोजन के साथ खुद को अलग करता है, एसएक्सजीए रिज़ॉल्यूशन के लिए समर्थन, और वीडियो और आरजीबी ग्राफिक्स सिग्नल दोनों को संसाधित करने की इसकी क्षमता।यह उन्नत रंग-अंतरिक्ष रूपांतरण, मैक्रोविज़न डिटेक्शन और लचीले आउटपुट इंटरफेस को भी एकीकृत करता है, जिससे यह गुणवत्ता और अनुकूलनशीलता दोनों की आवश्यकता वाले अनुप्रयोगों के लिए आदर्श है।
प्रत्यक्ष नहीं।ADV7401KSTZ-140 में देशी HDMI रिसीवर नहीं है, लेकिन यह एक बाहरी HDMI या DVI रिसीवर IC से अपने 24-बिट डिजिटल इनपुट पोर्ट के माध्यम से डिजिटल इनपुट को स्वीकार कर सकता है, जैसे कि एनालॉग डिवाइस Adv7611।यह आपको इस चिप का उपयोग करके अपने सिस्टम में HDMI स्रोतों को पाटने की अनुमति देता है।
बुनियादी डिकोडिंग कार्यों के लिए कोई अतिरिक्त मेमोरी की आवश्यकता नहीं है, लेकिन आपके सिस्टम आर्किटेक्चर के आधार पर, एक माइक्रोकंट्रोलर या होस्ट प्रोसेसर को चिप को कॉन्फ़िगर करने और प्रोसेस्ड वीडियो डेटा को संभालने के लिए आवश्यक हो सकता है।उच्च-अंत प्रणालियों में, इसे अक्सर आगे की प्रक्रिया के लिए FPGAs या DSPs के साथ जोड़ा जाता है।
जबकि सटीक मान आपके कॉन्फ़िगरेशन और एडीसी और आउटपुट पोर्ट के उपयोग पर निर्भर करता है, विशिष्ट बिजली अपव्यय पूर्ण लोड के तहत 0.8 डब्ल्यू और 1.2 डब्ल्यू के बीच होता है।हमेशा उचित गर्मी अपव्यय सुनिश्चित करने के लिए डेटशीट और थर्मल डिजाइन दिशानिर्देशों का संदर्भ लें।
हाँ।ADV7401KSTZ-140 NTSC, PAL और SECAM इनपुट में स्वचालित वीडियो मानक पहचान का समर्थन करता है।अपने ऑटो-डिटेक्शन रजिस्टरों का उपयोग करके, आपका सिस्टम डायनामिक रूप से उपयोगकर्ता हस्तक्षेप के बिना प्रारूपों के बीच स्विच कर सकता है, मल्टीफॉर्मैट वातावरण के लिए आदर्श है।
2025/04/3 पर
2025/04/3 पर
8000/04/18 पर 147758
2000/04/18 पर 111953
1600/04/18 पर 111349
0400/04/18 पर 83722
1970/01/1 पर 79508
1970/01/1 पर 66920
1970/01/1 पर 63078
1970/01/1 पर 63017
1970/01/1 पर 54081
1970/01/1 पर 52147